施普雷特 节能科技  |  首页  |  网站地图  |  服务热线:400 217 022
SR200系列光伏屋顶系统
建筑围护系统 屋顶围护系列

www.superliftpanel.com
 
www.superliftpanel.com
 
www.superliftpanel.com
 
www.superliftpanel.com
 
www.superliftpanel.com
结构形式:

轻钢结构+装配式


冷库温度: -25℃

冷库高度: 24m

产品介绍  |  工程应用

 

SR200系列光伏屋顶系统,具有独特的专利技术,在几乎不增加前期建造成本的情况下,让后期的屋面太阳能发电系统的安装铺设,变得简单易行。不打一颗钉,不对屋顶造成任何损害,即可随时进行屋面太阳能光伏电池板的安装铺设:

模块化设计;即用即装,不破坏屋面保温层和防水层,无需专门设计;
安装便捷;安装位置任意调整,不受屋面结构限制;

 
 SR200-P:PIR/PUR聚氨酯夹芯光伏屋顶板

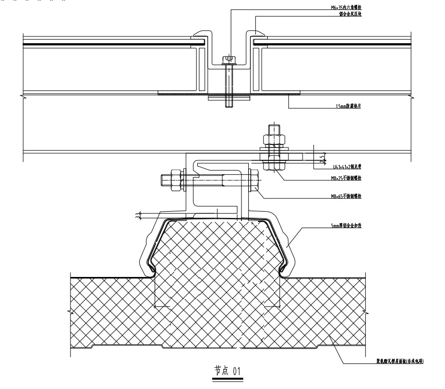
光伏板安装专利技术; 

相邻板弹性自锁扣合结构,无需增加其它辅助材料,实现自防雨功能; 

隐藏式光伏螺钉安装结构,彻底解决屋面渗漏问题。

截面图:

 SR200-R:岩棉夹芯光伏屋顶板 

光伏板安装专利技术; 

相邻板弹性自锁扣合结构,无需增加其它辅助材料,实现自防雨功能; 

隐藏式光伏螺钉安装结构,彻底解决屋面渗漏问题。

截面图:

 SR200-PG:PIR封边岩棉夹芯光伏屋顶板

光伏板安装专利技术; 

相邻板弹性自锁扣合结构,无需增加其它辅助材料,实现自防雨功能; 

隐藏式光伏螺钉安装结构,彻底解决屋面渗漏问题; 

PIR封边大大增强板材承载能力,更加适合大跨度工业建筑。

截面图:

SR200-PG:PIR封边玻璃丝棉夹芯光伏屋顶板

光伏板安装专利技术; 

相邻板弹性自锁扣合结构,无需增加其它辅助材料,实现自防雨功能; 

隐藏式光伏螺钉安装结构,彻底解决屋面渗漏问题; 

PIR封边大大增强板材承载能力,利用玻璃丝棉优异的隔声性能,更加适合对隔声降噪有要求的建筑。

截面图:

 
产品系列

冷链物流保温系统
建筑外墙围护系统
洁净空间围护系统
 
工程应用

食品加工工程
汽车制造工程
航空航天工程
仓储物流工程
烟草行业

扫描二维码
或者搜索微信公众号
“施普雷特:,关注
我们,获取最新资料
联系我们

(86)400 021 7022
河南·许昌施普雷特节能科技有限公司 | Support@superlift.com.cn | 400 217 022